Nokia a déposé en 2013 un brevet pour une batterie flexible. Et maintenant, certaines "sources" confient au journal The Korea Herald que "Les chances pour que Nokia se lance dans la course des smartphones pliables sont élevées."
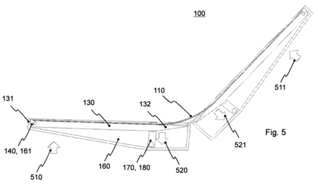
Comme pour la batterie flexible susmentionnée, Nokia a effectivement déposé un brevet pour un dispositif pliable (image ci-dessus) en 2013. C'était avant que la startup finlandaise HMD Global n’acquière la licence Nokia.
Cela ne veut pas dire que HMD Global n'entrera pas dans l'arène des smartphones repliables. Lorsque/si les smartphones pliables deviennent une tendance, tous les fabricants voudront naturellement prendre part à l’aventure et c'est à ce moment-là qu'un brevet de téléphone pliable pourrait devenir très utile.
Comme pour la batterie flexible susmentionnée, Nokia a effectivement déposé un brevet pour un dispositif pliable (image ci-dessus) en 2013. C'était avant que la startup finlandaise HMD Global n’acquière la licence Nokia.
Cela ne veut pas dire que HMD Global n'entrera pas dans l'arène des smartphones repliables. Lorsque/si les smartphones pliables deviennent une tendance, tous les fabricants voudront naturellement prendre part à l’aventure et c'est à ce moment-là qu'un brevet de téléphone pliable pourrait devenir très utile.



Technologies

L’IA au cœur du smartphone : Le pari audacieux de Kiabi et UserAdgents pour une mode plus fluide




