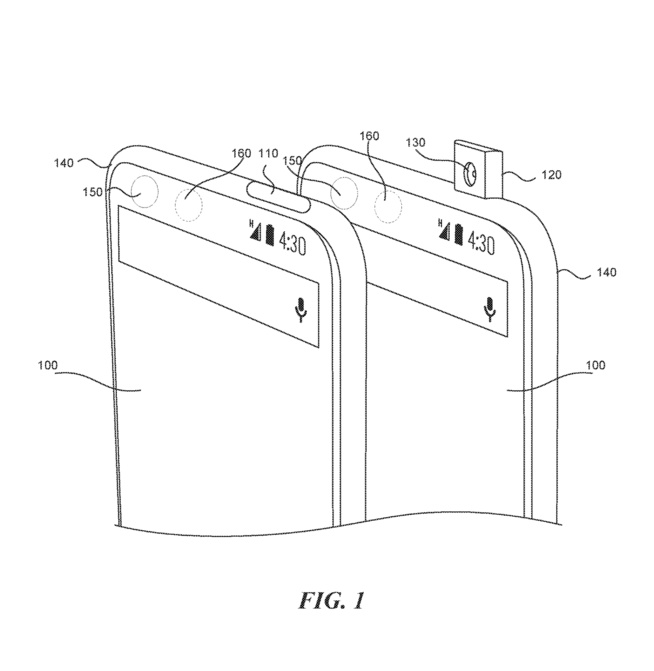
Andy Rubin a révélé sur Twitter que Essential a déposé un brevet pour un design très similaire en mai 2016. Comme pour le Vivo Apex, le brevet (ci-dessus) montre un smartphone avec une caméra frontale qui peut sortir du haut de la coque, puis retourner à l’intérieur lorsqu’il n'est pas utilisé. En plus d'avoir l'air cool, cela permet également d’avoir un design presque sans bordure, sans sacrifier des parties de votre précieux écran.
On ne sait pas quand Essential sortira un téléphone qui profite de ce brevet, mais vu que Rubin l'a publiquement évoqué sur Twitter, il y a des chances que l'Essential Phone 2 arrive avec cette fonctionnalité.
On ne sait pas quand Essential sortira un téléphone qui profite de ce brevet, mais vu que Rubin l'a publiquement évoqué sur Twitter, il y a des chances que l'Essential Phone 2 arrive avec cette fonctionnalité.



Technologies

L’IA au cœur du smartphone : Le pari audacieux de Kiabi et UserAdgents pour une mode plus fluide




