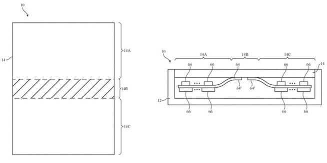
L'un des gros problèmes rencontrés lors de la conception d'un écran pliable consiste à éviter les dommages lorsque l'écran est plié et déplié à plusieurs reprises. La demande de brevet d’Apple laisse entendre que c’est un problème qui se pose particulièrement lorsque l’écran est froid, et donc moins souple. Le brevet suggère que chauffer l’endroit où l’écran se plie réduirait le risque.
Un capteur de température à l’intérieur du dispositif pourrait effectuer des mesures de température sur la partie de l’écran recouvrant l'axe de courbure. L'écran ne serait chauffé que si le téléphone détecte qu'il est en cours d'utilisation, ou si l’utilisateur prend le téléphone, suggérant qu’il pourrait plier ou déplier l’écran.
Un capteur de température à l’intérieur du dispositif pourrait effectuer des mesures de température sur la partie de l’écran recouvrant l'axe de courbure. L'écran ne serait chauffé que si le téléphone détecte qu'il est en cours d'utilisation, ou si l’utilisateur prend le téléphone, suggérant qu’il pourrait plier ou déplier l’écran.



Technologies


L’IA au cœur du smartphone : Le pari audacieux de Kiabi et UserAdgents pour une mode plus fluide




