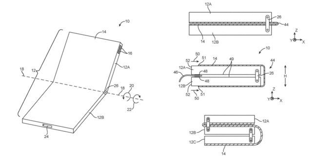
Le nouveau brevet décrit - et illustre - un modèle d'iPhone pliable avec l'écran replié vers l'intérieur, à la manière d'un livre; un design où l’écran couvre tout l'extérieur de l'appareil, comme une couverture de livre; et même un design à double articulation où il fait les deux.
Une preuve de plus qu’Apple s’intéresse bel et bien à la création d’un téléphone pliable. Ce n’est plus une question de si, mais plutôt de quand Apple créera son iPhone pliable.
Une preuve de plus qu’Apple s’intéresse bel et bien à la création d’un téléphone pliable. Ce n’est plus une question de si, mais plutôt de quand Apple créera son iPhone pliable.



Technologies


L’IA au cœur du smartphone : Le pari audacieux de Kiabi et UserAdgents pour une mode plus fluide




